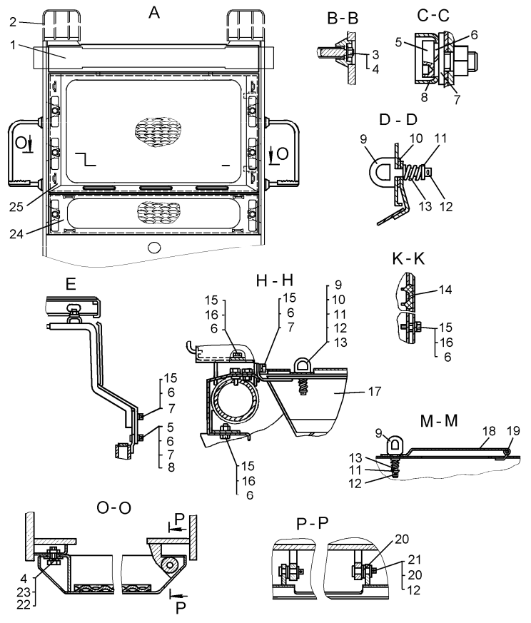
| # | Номер запчасти | Наименование детали | Кол-во в сборке |
| - |
64-55-32СП 1 64-55-32-01СП 2 64-55-32-02СП 3 64-55-32-03СП 4 64-55-32-05СП 5 64-55-32-06СП 6 64-55-32-07СП 7 64-55-32-08СП 8 |
Капот | 1 |
| 1 |
64-55-520 1, 3 64-55-520-01 1, 3 64-55-520-04 5, 7 64-55-520-05 5, 7 |
Створка (левая) Створка (правая) Створка (левая) Створка (правая) |
1 |
| 2 | 64-55-225СП | Балка | 1 |
| 3 | - | Болт M10-6g×25.58.019 |
33 1, 2, 3, 4 41 5, 6, 7, 8 4 9 |
| 4 | - | Шайба 10 ОТ 65Г 09 |
49 1, 2, 3, 4 41 5, 6, 7, 8 |
| 5 | 3197 | Шайба |
28 1, 2, 3, 4 30 5, 6, 7, 8 |
| 6 |
64-55-520-02 2, 4 64-55-520-03 2, 4 64-55-520-06 6, 8 64-55-520-07 6, 8 |
Створка (левая) Створка (правая) Створка (левая) Створка (правая) |
1 |
| 7 |
64-55-209СП 1, 3 64-55-209-01СП 2, 4 64-55-209-02СП 5, 7 64-55-209-03СП 6, 8 |
Рама | 1 |
| 8 | 28475 | Болт |
4 1, 2, 3, 4 8 5, 6, 7, 8 |
| 9 | 50-55-486 | Створка(левая) | 1 |
| 10 | 50-55-487 | Створка (правая) | 1 |
| 11 |
64-55-210СП 1, 2, 3, 4 50-55-325-03СП 5, 6, 7, 8 |
Крыша | 1 |
| 12 | 50-55-488 1, 2, 5, 6 | Створка(левая) | 1 |
| 13 | 50-55-488-01 3, 4, 7, 8 | Створка (левая) | 1 |
| 14 | 50-55-489 | Створка (правая) | 1 |
| 15 | 700-40-3667 | Кольцо |
8 1, 2, 3, 4 10 5, 6, 7, 8 |
| 16 | - | Болт M12-6g×30.58.019 |
10 1, 2, 3, 4 14 5, 6, 7, 8 |
| 17 | - | Шайба 12 ОТ 65Г 09 |
6 1, 2, 3, 4 14 5, 6, 7, 8 |
| 18 | 3135-1 | Шайба |
14 1, 2, 3, 4 22 5, 6, 7, 8 |
| 19 |
50-55-388СП 5, 6, 7, 8 50-55-388-01СП 1, 2, 3, 4 |
Опора | 1 |
| 20 |
50-55-389СП 5, 6, 7, 8 50-55-389-01СП 1, 2, 3, 4 |
Опора | 1 |
| 21 |
50-50-323СП 50-50-324СП |
Боковина (левая) Боковина (правая) |
1 |
| 22 | - | Шайба 16 ОТ 65Г 09 | 4 |
| 23 | 31477-01 | Шайба | 4 |
| 24 | 700-28-2621 | Болт | 4 |
| 25 | 50-55-449 5, 6, 7, 8 | Уголок | 2 |
| 26 | - | Болт М8-6g×16.88.35. 019 | 4 1, 2, 3, 4 |
| 27 | - | Шайба 8Т 65Г 09 | 4 1, 2, 3, 4 |
| 28 | 31386 1, 2, 3, 4 | Шайба | 4 |
| 29 | 64-55-546 1, 2, 3, 4 | Пластина | 1 |
| 30 | 64-55-547 1, 2, 3, 4 | Пластина | 1 |
| 31 | 31372 | Шайба |
14 1, 2, 3, 4 22 5, 6, 7, 8 |
| 32 | 64-70-111СП | Поручень-подножка | 1 |
| 33 | - | Шайба 10 ОТ 65Г 09 | 4 9 |
| 34 | 31308-1 | Шайба |
21 1, 2, 3, 4 17 5, 6, 7, 8 |
| 35 |
64-55-211СП 1, 2, 3, 4 64-55-211-01СП 5, 6, 7, 8 |
Крышка | 1 |
| 36 |
64-55-212СП 1, 2, 3, 4 64-55-212-01СП 5, 6, 7, 8 |
Крышка | 1 |
| 37 | 64-70-111-01СП | Поручень-подножка | 1 |
| 38 | 700-37-368 | Пробка | 4 |
| 39 | 64-08-473-01 | Накладка | 4 |
| 40 | 64-55-556 1, 2, 3, 4 | Болт | 16 |
| 41 | 64-55-557 1, 2, 3, 4 | Кольцо | 16 |
|
1 Для трактора с «обратным» потоком и пусковым двигателем. 2 Для болотоходного трактора с «обратным» потоком и пусковым двигателем. 3 Для трактора с «обратным» потоком и электростартерной системой пуска. 4 Для болотоходного трактора с «обратным» потоком и электростартерной системой пуска. 5 Для трактора с пусковым двигателем с «прямым» потоком. 6 Для болотоходного трактора с пусковым двигателем с «прямым» потоком. 7 Для трактора с электростартерной системой пуска с «прямым» потоком. 8 Для болотоходного трактора с электростартерной системой пуска с «прямым» потоком. 9 При установке фар 761.3711. |
|||
| # | Номер запчасти | Наименование детали | Кол-во в сборке |
| 1 | 64-55-216СП | Лобовина | 1 |
| 2 | 64-55-245СП 9 | Защита фары | 2 |
| 3 | - | Гайка М12-7Н.6.019 | 4 |
| 4 | 31372 | Шайба |
14 1, 2, 3, 4 22 5, 6, 7, 8 |
| 5 | 64-55-556 1, 2, 3, 4 | Болт | 16 |
| 6 | - | Шайба 10 ОТ 65Г 09 |
49 1, 2, 3, 4 41 5, 6, 7, 8 4 9 |
| 7 | 3197 | Шайба |
28 1, 2, 3, 4 30 5, 6, 7, 8 |
| 8 | 64-55-557 1, 2, 3, 4 | Кольцо | 16 |
| 9 | 18-25-32 | Упор |
9 1, 2, 3, 4 11 5, 6, 7, 8 |
| 10 | 700-40-3667 | Кольцо |
8 1, 2, 3, 4 10 5, 6, 7, 8 |
| 11 | 18-25-31 | Шайба-колпачок |
9 1, 2, 3, 4 11 5, 6, 7, 8 |
| 12 | - | Шплинт 3,2x18 |
11 1, 2, 3, 4 13 5, 6, 7, 8 |
| 13 | 38385 | Пружина |
9 1, 2, 3, 4 11 5, 6, 7, 8 |
| 14 | 591044 | Амортизатор | 4 |
| 15 | - | Болт M10-6g×25.58.019 |
33 1, 2, 3, 4 41 5, 6, 7, 8 4 9 |
| 16 | 31308-1 | Шайба |
21 1, 2, 3, 4 17 5, 6, 7, 8 4 9 |
| 17 | 64-55-229СП | Балка | 1 |
| 18 | 700-42-2771 | Крышка | 1 |
| 19 | 50-55-370-01 | Стержень | 1 |
| 20 | 3135-1 | Шайба |
14 1, 2, 3, 4 22 5, 6, 7, 8 |
| 21 | 17317 | Палец | 2 |
| 22 | - | Болт M12-6g×30.58.019 |
10 1, 2, 3, 4 14 5, 6, 7, 8 |
| 23 | - | Шайба 12 ОТ 65Г 09 |
6 1, 2, 3, 4 14 5, 6, 7, 8 |
| 24 | 64-55-265СП | Облицовка | 1 |
| 25 | 64-55-266СП | Облицовка | 1 |
|
1 Для трактора с «обратным» потоком и пусковым двигателем. 2 Для болотоходного трактора с «обратным» потоком и пусковым двигателем. 3 Для трактора с «обратным» потоком и электростартерной системой пуска. 4 Для болотоходного трактора с «обратным» потоком и электростартерной системой пуска. 5 Для трактора с пусковым двигателем с «прямым» потоком. 6 Для болотоходного трактора с пусковым двигателем с «прямым» потоком. 7 Для трактора с электростартерной системой пуска с «прямым» потоком. 8 Для болотоходного трактора с электростартерной системой пуска с «прямым» потоком. 9 При установке фар 761.3711. |
|||
